突发新闻:

最新资讯

OpenAI 推出“ChatGPT Go”低价套餐:仅限特定地区,每月 399 印度卢比
OpenAI 推出“ChatGPT Go”低价套餐:仅限特定地区,每月 399 印度卢比

IT之家 8 月 13 日消息,OpenAI 更新了其定价页面,新增了一个名为“ChatGPT Go”的订阅套餐。该套餐的定价为 399 印度卢比(IT之...

阅读全文
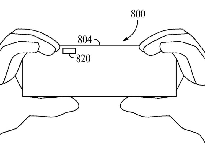
苹果新专利曝光:Vision Pro 遮光密封圈可升级为触控感应表面
苹果新专利曝光:Vision Pro 遮光密封圈可升级为触控感应表面

IT之家 8 月 13 日消息,科技媒体 AppleInsider 今天(8 月 13 日)发布博文,报道称苹果公司获批一项新专利,正探索将 Vision...

阅读全文
微信“分付”灰度上线“借款”功能,日利率 0.045%

IT之家 8 月 13 日消息,据界面新闻报道,微信分付近日悄悄上线了“借款”功能。对此,腾讯相关人士表示,分付是腾讯在灰度测试的消费信贷产品,用户能够通...

阅读全文
M4 Mac 最佳拍档:Plugable 推 Thunderbolt 4 扩展坞,支持 4K 双屏输出、96W 充电、13 个端口
M4 Mac 最佳拍档:Plugable 推 Thunderbolt 4 扩展坞,支持 4K 双屏输出、96W...

IT之家 8 月 13 日消息,科技媒体 AppleInsider 昨日(8 月 12 日)发布博文,报道称 Plugable 发布新款 Thunderb...

阅读全文
RTX ON:《GTA 5 增强版》喜迎 DLSS 4 多帧生成技术
RTX ON:《GTA 5 增强版》喜迎 DLSS 4 多帧生成技术

IT之家 8 月 13 日消息,据外媒 The Verge 12 日报道,Rockstar Games 为《GTA 5 增强版》加入了英伟达 DLSS 4...

阅读全文
4 亿 vs 6 亿:扎克伯格的 Threads 成社交新势力,月活用户规模直追马斯克的 X
4 亿 vs 6 亿:扎克伯格的 Threads 成社交新势力,月活用户规模直追马斯克的 X

IT之家 8 月 13 日消息,科技媒体 9to5Mac 今天(8 月 13 日)发布博文,报道称 Meta 旗下社交应用 Threads 月活跃用户突破...

阅读全文
剑指大众高尔夫、ID.3,奔驰全新一代 GLA 将提供燃油、纯电双版本
剑指大众高尔夫、ID.3,奔驰全新一代 GLA 将提供燃油、纯电双版本

IT之家 8 月 13 日消息,据外媒 Autocar 12 日报道,奔驰全新第三代 GLA 跨界车将瞄准大众高尔夫和 ID 3。该车定位紧凑型 SUV,...

阅读全文
特斯拉发布 FSD 演示视频:旧金山到洛杉矶全程 580 公里零干预
特斯拉发布 FSD 演示视频:旧金山到洛杉矶全程 580 公里零干预

IT之家 8 月 13 日消息,特斯拉在 X 平台发布了其 FSD 技术迄今为止行程最长的演示视频,展示了从旧金山湾区到洛杉矶的零干预驾驶之旅。视频显示在...

阅读全文
英国政府建议民众删除旧电子邮件和照片以节约用水,被指或适得其反

IT之家 8 月 13 日消息,英国政府在宣布面临“具有全国性重要意义”的水资源短缺后,发布了一份指导文件,建议民众采取一系列节水措施,其中包括删除旧邮件...

阅读全文
Arm 自 2026 年起为 GPU 引入专用神经加速器,终端明年底发货
Arm 自 2026 年起为 GPU 引入专用神经加速器,终端明年底发货

IT之家 8 月 13 日消息,Arm 在 SIGGRAPH 2025 大会上宣布,其将从 2026 年起为 GPU 提供专用神经加速器,该加速器将在明年...

阅读全文
前迈凯伦、Alpine 老板联手前特斯拉高管,打造轻量化电动跑车挑战 Roadster
前迈凯伦、Alpine 老板联手前特斯拉高管,打造轻量化电动跑车挑战 Roadster

IT之家 8 月 13 日消息,马斯克的特斯拉 Roadster 纯电跑车官宣已有多年,但具体发布时间至今仍未确定。据外媒 Carscoops 今日报道,...

阅读全文
《深海迷航 2》游戏风波:KRAFTON 否认拖延奖金,反指创始人影响团队致进度仅完成 12%
《深海迷航 2》游戏风波:KRAFTON 否认拖延奖金,反指创始人影响团队致进度仅完成 12%

IT之家 8 月 13 日消息,科技媒体 WccfTech 昨日(8 月 12 日)发布博文,报道称作为《深海迷航 2》(Subnautica 2)游戏开...

阅读全文
玩家起诉《王者荣耀》案开庭:连胜后匹配菜鸡队友,要求公开匹配机制
玩家起诉《王者荣耀》案开庭:连胜后匹配菜鸡队友,要求公开匹配机制

IT之家 8 月 13 日消息,据九派新闻报道,8 月 12 日,深圳南山区人民法院就青岛律师孙千和起诉“王者荣耀”要求公开游戏匹配机制一案进行了开庭审理...

阅读全文
仅 25 辆:迈巴赫 S680 Emerald Isle 限量版亮相,621 马力 V12 加持
仅 25 辆:迈巴赫 S680 Emerald Isle 限量版亮相,621 马力 V12 加持

IT之家 8 月 13 日消息,汽车媒体 carscoops 今天(8 月 13 日)发布博文,报道称在 2025 年蒙特雷汽车周上,梅赛德斯-迈巴赫展示...

阅读全文
三星推出 40 英寸款玄龙骑士 G7 G75F 曲面显示器:5K2K 180Hz 1000R
三星推出 40 英寸款玄龙骑士 G7 G75F 曲面显示器:5K2K 180Hz 1000R

IT之家 8 月 13 日消息,三星电子昨日在北美市场正式发布了 40 英寸款的玄龙骑士 Odyssey G7 G75F 曲面显示器,这一型号国内此前已在...

阅读全文
搭载全新“云晰”柔光屏,华为 MatePad 11.5 S 平板官宣 8 月 15 日亮相
搭载全新“云晰”柔光屏,华为 MatePad 11.5 S 平板官宣 8 月 15 日亮相

IT之家 8 月 13 日消息,华为终端今日宣布,华为 MatePad 11.5 S 平板新品将于 8 月 15 日 14 时在“华为夏季新品大咖秀”正式...

阅读全文
荣耀 Magic V Flip2 官宣 8 月 21 日发布
荣耀 Magic V Flip2 官宣 8 月 21 日发布

IT之家 8 月 13 日消息,荣耀手机宣布,新款小折叠手机荣耀 Magic V Flip2 将于 8 月 21 日发布。从荣耀 Magic V Flip...

阅读全文
贴息政策解读:支持哪些贷款?贴息力度多大?如何贴?
贴息政策解读:支持哪些贷款?贴息力度多大?如何贴?

图片来源:界面图库 界面新闻记者 | 何柳颖界面新闻编辑 | 王姝 贴息...

阅读全文
财说| 狮头股份跨界收购换来两个跌停,机器视觉故事背后有何隐忧?
财说| 狮头股份跨界收购换来两个跌停,机器视觉故事背后有何隐忧?

狮头股份(600539.SH)近日披露了重大资产重组报告书,拟通过发行股份及支付现金的方式,作价 6.62 亿元收购杭州利珀科技股份有限公司(以下简称 ...

阅读全文
欧盟举行会谈并担心特朗普与普京会晤将乌克兰边缘化
欧盟举行会谈并担心特朗普与普京会晤将乌克兰边缘化

Array由于欧洲担心乌克兰将被排除在外,并被迫做出不可接受的领土妥协,以结束已进入第四个年的俄乌战争,欧洲各国外交部长正在举行紧急会谈,讨论在美国总统唐...

阅读全文
半岛电视台记者在加沙遇害事件引发全球悲痛与强烈谴责
半岛电视台记者在加沙遇害事件引发全球悲痛与强烈谴责

Array以色列在加沙杀害了五名半岛电视台工作人员,其中包括著名记者阿纳斯·谢里夫,引发了全球的悲痛与谴责。周日晚些时候,无人机袭击了加沙城希法医院正门外...

阅读全文
皇马能否击败西甲冠军巴塞罗那?姆巴佩能否超越亚马尔?
皇马能否击败西甲冠军巴塞罗那?姆巴佩能否超越亚马尔?

Array巴塞罗那上赛季横扫皇家马德里,最终结束了卡洛·安切洛蒂的第二个执教生涯——尽管他在前一年曾率队夺得联赛和欧冠双冠王。在国内外低调开局后,本赛季大...

阅读全文
泽连斯基称普京正准备在乌克兰发动“新攻势”,而非停火
泽连斯基称普京正准备在乌克兰发动“新攻势”,而非停火

Array乌克兰总统泽连斯基表示,尽管普京即将与美国总统特朗普在阿拉斯加举行和平会谈,但他并未准备停火,而是在为乌克兰的“新一轮进攻行动”做准备。泽连斯基...

阅读全文
特朗普为何派遣美国国民警卫队进驻华盛顿特区?
特朗普为何派遣美国国民警卫队进驻华盛顿特区?

Array美国总统唐纳德·特朗普宣布,他将暂时接管华盛顿特区警察局,同时部署800名国民警卫队士兵进驻华盛顿特区。特朗普表示,他的行动是为了“拯救”美国首...

阅读全文
俄罗斯需要100年才能控制乌克兰吗?
俄罗斯需要100年才能控制乌克兰吗?

Array一个灰蒙蒙的早晨,乌克兰顿涅茨克市郊,浓雾像厚厚的毯子一样笼罩着战壕,空中不时传来无人机搜寻目标的嗡嗡声。一名二十多岁的乌克兰士兵坐在湿泥墙上,...

阅读全文
新一代Apple Watch的主要区别
新一代Apple Watch的主要区别

Array苹果正准备在今年9月初的发布会上推出新一代Apple Watch智能手表,同时揭晓新一代iPhone设备。新款手表将带来一系列区别于前代智能手表...

阅读全文
特朗普与欧洲的协议:以经济主权为代价的关税休战
特朗普与欧洲的协议:以经济主权为代价的关税休战

Array上个月底,欧盟与美国总统唐纳德·特朗普政府签署了一项备受争议的贸易协定,此举被描述为极其危险的战略转变。这项协定暂时阻止了一场即将爆发的关税战,...

阅读全文
习近平:中国和巴西可以为全球南方国家树立“自力更生”的榜样
习近平:中国和巴西可以为全球南方国家树立“自力更生”的榜样

Array据中国官方媒体报道,中国国家主席习近平表示,中国和巴西可以为全球南方国家树立“团结自力更生”的榜样。据新华社报道,习近平主席周一与巴西总统路易斯...

阅读全文
以色列杀害了664名运动员并摧毁了加沙的体育事业 却未受国际组织惩罚
以色列杀害了664名运动员并摧毁了加沙的体育事业 却未受国际组织惩罚

Array欧洲-地中海人权观察组织在本周一表示,尽管以色列持续近22个月的种族灭绝战争已摧毁加沙地带的体育事业并导致664名运动员遇难,但国际及洲际体育联...

阅读全文
关于从沙漠中开采“黄金”的指南
关于从沙漠中开采“黄金”的指南

Array“半导体”听起来可能是一个晦涩难懂的术语,但实际上,我们的日常生活几乎完全充斥着半导体。例如,走进厨房,环顾四周:冰箱、烤箱、微波炉、空调、洗衣...

阅读全文