突发新闻:

最新资讯

沃尔沃 EX30 Cross Country 车型 7 月 17 日国内上市,搭载双电机动力
沃尔沃 EX30 Cross Country 车型 7 月 17 日国内上市,搭载双电机动力

IT之家 7 月 9 日消息,沃尔沃 EX30 Cross Country 车型(下文简称:沃尔沃 EX30 CC)将于 7 月 17 日在国内上市。作为...

阅读全文
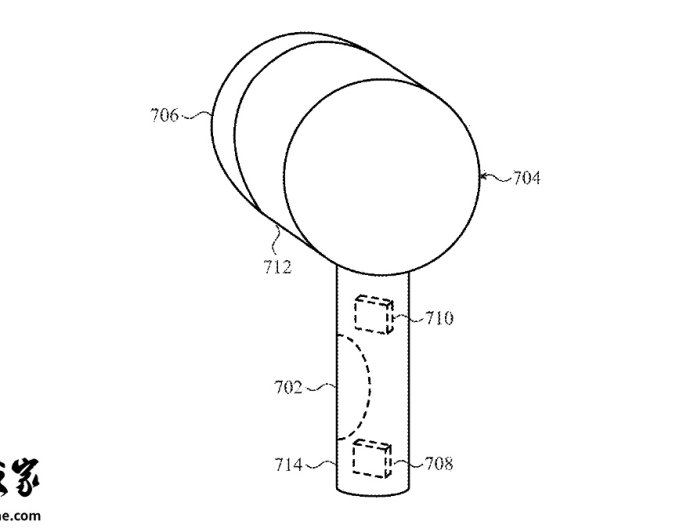
苹果专利探索 Apple Pencil 手写笔未来:摆脱 iPad 屏幕限制,可在任意表面书写
苹果专利探索 Apple Pencil 手写笔未来:摆脱 iPad 屏幕限制,可在任意表面书写

IT之家 7 月 9 日消息,科技媒体 AppleInsider 昨日(7 月 8 日)发布博文,报道称苹果公司获批一项新专利,展示了未来的 Apple ...

阅读全文
连续被 Meta 挖角,OpenAI CEO 奥尔特曼“期待”与扎克伯格谈谈
连续被 Meta 挖角,OpenAI CEO 奥尔特曼“期待”与扎克伯格谈谈

北京时间 7 月 9 日,据彭博社报道,Meta CEO 马克・扎克伯格 (Mark Zuckerberg) 已多次重金挖走 OpenAI 顶尖工程师。O...

阅读全文
韦德布什分析师建议特斯拉约束马斯克,后者回怼“闭嘴”
韦德布什分析师建议特斯拉约束马斯克,后者回怼“闭嘴”

北京时间 7 月 9 日,据《商业内幕》报道,即便是最看好特斯拉的分析师,也可能惹怒埃隆・马斯克 (Elon Musk),遭到抨击。马斯克韦德布什证券公司...

阅读全文
为 2026 年上市铺路:苹果 AirPods 耳机新专利获批,内置摄像头以革新听觉体验
为 2026 年上市铺路:苹果 AirPods 耳机新专利获批,内置摄像头以革新听觉体验

IT之家 7 月 9 日消息,科技媒体 AppleInsider 今天(7 月 9 日)发布博文,报道称苹果公司获批一项新专利,聚焦在 AirPods 耳...

阅读全文
OPPO K13 Turbo Pro 手机主动散热风扇曝光:玩游戏 1 小时,续航影响约 2 分钟
OPPO K13 Turbo Pro 手机主动散热风扇曝光:玩游戏 1 小时,续航影响约 2 分钟

IT之家 7 月 9 日消息,博主 @数码闲聊站 昨日曝光了 K13 系列新机的风扇模组,全新结构设计,体积更小,风力提升 120%。该博主在评论区写道:...

阅读全文
奇瑞汽车用智界账号直播宣传风云 A9L,智界系列产品总监发文道歉
奇瑞汽车用智界账号直播宣传风云 A9L,智界系列产品总监发文道歉

IT之家 7 月 9 日消息,昨日晚间,奇瑞风云 A9L 插电式混动轿车今晚上市,共推出 4 款车型,售价区间 14.99-20.79 万元,超级置换抢购...

阅读全文
进一步威胁 Mac 用户:AMOS 恶意软件破坏力升级,引入后门从窃取数据扩展至控制系统
进一步威胁 Mac 用户:AMOS 恶意软件破坏力升级,引入后门从窃取数据扩展至控制系统

IT之家 7 月 9 日消息,科技媒体 AppleInsider 昨日(7 月 8 日)发布博文,报道称针对苹果 macOS 系统的恶意软件 Atomic...

阅读全文
科技昨夜今晨 0709:身份证号前六位有了新规范;鸿蒙智行享界汽车 Logo 图形车标正式公布;字节否认 TikTok 美国业务将被收购...
科技昨夜今晨 0709:身份证号前六位有了新规范;鸿蒙智行享界汽车 Logo 图形车标正式公布;字节否认...

“科技昨夜今晨”时间,大家好,现在是 2025 年 7 月 9 日星期三,今天的重要科技资讯有:1、2025 年我国电影总票房破 300 亿,相较去年提前...

阅读全文
国产首款、全球第二款九价 HPV 疫苗 499 元/支,约为进口产品 40%
国产首款、全球第二款九价 HPV 疫苗 499 元/支,约为进口产品 40%

IT之家 7 月 9 日消息,我国第一款九价人乳头瘤病毒疫苗(大肠埃希菌)上个月获得国家药品监督管理局批准上市,商品名馨可宁 9(Cecolin9),可用...

阅读全文
比亚迪李慧上任腾势总经理后首发长文,腾势 N8L 豪华 SUV 即将上市
比亚迪李慧上任腾势总经理后首发长文,腾势 N8L 豪华 SUV 即将上市

IT之家 7 月 9 日消息,7 月 3 日,比亚迪集团对旗下子品牌管理层进行轮岗调整:原腾势销售事业部总经理赵长江先生与腾势方程豹直营事业部总经理李慧先...

阅读全文
中国科学院成功研发出底栖动物智能识别系统:准确率达 90% 以上,全程高度自动化
中国科学院成功研发出底栖动物智能识别系统:准确率达 90% 以上,全程高度自动化

IT之家 7 月 9 日消息,据“中科院之声”公众号消息,中国科学院水生生物研究所运用人工智能图像识别技术,成功研发出底栖动物智能识别系统,实现了底栖动物...

阅读全文
追忆往昔:开发者打造网页项目,重现苹果 Lisa 系统
追忆往昔:开发者打造网页项目,重现苹果 Lisa 系统

IT之家 7 月 9 日消息,科技媒体 9to5Mac 昨日(7 月 8 日)发布博文,报道称开发者 Andrew Yaros 在 Hacker News...

阅读全文
苹果 macOS 26 Beta 3 优化 Safari 和终端应用标签页:去除黑条,提高对比度
苹果 macOS 26 Beta 3 优化 Safari 和终端应用标签页:去除黑条,提高对比度

IT之家 7 月 9 日消息,科技媒体 9to5Mac 昨日(7 月 8 日)发布博文,报道称在 macOS 26 Tahoe Beta 3 测试版本中,...

阅读全文
Counterpoint:SK 海力士 2025 年二季度存储营收追上三星电子
Counterpoint:SK 海力士 2025 年二季度存储营收追上三星电子

IT之家 7 月 9 日消息,分析机构 Counterpoint 在当地时间昨日的新闻稿中指出,在 DRAM 内存 + NAND 闪存的整体存储营收方面,...

阅读全文
英特尔宣布在俄勒冈州裁员 529 人,包含近 300 名软硬件工程师

IT之家 7 月 9 日消息,英特尔上个月宣布计划在加州裁员 271 人,又在亚利桑那州将裁员 107 人,另外本周二又在俄勒冈州公布了裁员计划。英特尔按...

阅读全文
微软 Win11 24H2 推送 7 月累积更新:缩放任务栏图标、引入 PC 迁移工具、原生解压速度提升约 15%
微软 Win11 24H2 推送 7 月累积更新:缩放任务栏图标、引入 PC 迁移工具、原生解压速度提升约 15%

IT之家 7 月 9 日消息,在 7 月补丁星期二活动日中,微软公司面向 Windows 11 24H2 用户,推送 KB5062553 更新,用户安装后...

阅读全文
UBI Research:TCL 华星将建设一印刷技术路线 8.6 代 OLED 产线
UBI Research:TCL 华星将建设一印刷技术路线 8.6 代 OLED 产线

IT之家 7 月 9 日消息,韩国 OLED 研究机构 UBI Research 在当地时间昨日的新闻稿中指出,TCL 华星计划在本月宣布其在广州 T8 ...

阅读全文
中手游宣布与恺英网络续约,并将基于《仙剑奇侠传》IP 开发新的卡牌 RPG 游戏

IT之家 7 月 9 日消息,中手游今日发布公告,宣布与恺英网络旗下《仙剑奇侠传:新的开始》的正版 IP 授权达成续约协议。同时,双方宣布新签订一款基于《...

阅读全文
消息称某厂标准版新机配备 6.3 英寸小屏、3D 超声波,预计为 vivo X300
消息称某厂标准版新机配备 6.3 英寸小屏、3D 超声波,预计为 vivo X300

IT之家 7 月 9 日消息,博主 @数码闲聊站 今日曝光一款中杯(标准版)新机的部分参数,预计为 vivo X300。据爆料,该机为 6.3 英寸小屏旗...

阅读全文
微软 Win11 23H2/22H2 推送 7 月累积更新:引入 PC 迁移工具等
微软 Win11 23H2/22H2 推送 7 月累积更新:引入 PC 迁移工具等

IT之家 7 月 9 日消息,在 7 月补丁星期二活动日中,微软面向 Windows 11 23H2 和 22H2 用户,推送了 KB5062552 累积...

阅读全文
2026 款零跑 C11 车型明日上市:预售 15.88 万元起,纯电、增程双版本
2026 款零跑 C11 车型明日上市:预售 15.88 万元起,纯电、增程双版本

IT之家 7 月 9 日消息,零跑汽车 2026 款全新 C11 上市发布会将于 7 月 10 日 19:00 举行,号称“3 大代际跃升、125 项越级...

阅读全文
微软 Win10 22H2/21H2 推送 7 月累积更新:修复 137 个漏洞
微软 Win10 22H2/21H2 推送 7 月累积更新:修复 137 个漏洞

IT之家 7 月 9 日消息,在 7 月补丁星期二活动日中,微软面向 Windows 10 22H2 和 21H2 用户,推送了 KB5062554 累积...

阅读全文
Foundry 或成 IDM:格芯达成收购 MIPS 最终协议
Foundry 或成 IDM:格芯达成收购 MIPS 最终协议

IT之家 7 月 9 日消息,格芯美国当地时间昨日宣布半导体 IP 供应商 MIPS 达成最终收购协议。该交易预计将于 2025 年下半年完成,此后 MI...

阅读全文
越疆机器人发布六足仿生机器狗,全球首推“机械臂 + 人形 + 六足”具身机器人平台
越疆机器人发布六足仿生机器狗,全球首推“机械臂 + 人形 + 六足”具身机器人平台

IT之家 7 月 9 日消息,越疆机器人今日发布公告,宣布推出全新的六足仿生机器狗,这是集“认知、动作、机动”三大核心能力于一体的创新产品。据介绍,这款机...

阅读全文
具身智能机器人公司星海图再获超 1 亿美元融资,美团龙珠、今日资本领投
具身智能机器人公司星海图再获超 1 亿美元融资,美团龙珠、今日资本领投

IT之家 7 月 9 日消息,星海图今日宣布,公司接连完成 A4 轮及 A5 轮战略融资,两轮合计融资金额超过 1 亿美元(现汇率约合 7.18 亿元人民...

阅读全文
普华永道:十年后全球 1/3 半导体产能依赖对气候变化敏感的铜供应
普华永道:十年后全球 1/3 半导体产能依赖对气候变化敏感的铜供应

IT之家 7 月 9 日消息,国际四大会计师事务所之一的普华永道在发布于当地时间昨日的报告中指出,气候变化可能会扰乱全球半导体供应链,因为在半导体制造中起...

阅读全文
马斯克 SpaceX 被曝推进 4000 亿美元估值交易,有望创美国私营企业最高估值纪录
马斯克 SpaceX 被曝推进 4000 亿美元估值交易,有望创美国私营企业最高估值纪录

IT之家 7 月 9 日消息,彭博社今日援引知情人士的话称,SpaceX 正讨论融资及内部股份出售计划,估值约 4000 亿美元(IT之家注:现汇率约合 ...

阅读全文
微软扩展热补丁部署,现覆盖 ARM 架构 Win11 24H2 设备
微软扩展热补丁部署,现覆盖 ARM 架构 Win11 24H2 设备

IT之家 7 月 9 日消息,科技媒体 NeoWin 今天(7 月 9 日)发布博文,报道称微软扩大热补丁(Windows Hotpatching)覆盖范...

阅读全文
零百 3.4 秒,全新阿斯顿・马丁 Vantage S 超跑官图发布
零百 3.4 秒,全新阿斯顿・马丁 Vantage S 超跑官图发布

IT之家 7 月 9 日消息,全新阿斯顿・马丁 Vantage S 官图今日公布,这款车在全新阿斯顿・马丁 Vantage 的基础上,不仅对外观和内饰的细...

阅读全文