出品|虎嗅ESG组
作者|陈玉立
头图|AI生成
本文是#ESG进步观察#系列第140篇文章
本次观察关键词:公司治理
谁也想不到,一次本应是增长见识的“求学之旅”,却导致六名大学生殒命。
2025年7月23日10时20分左右,东北大学6名学生在中国黄金集团内蒙古矿业有限公司乌努格吐山铜钼矿选矿厂参观学习浮选工艺过程中,因格栅板(钢格板)脱落,学生坠入含有危险矿浆的浮选槽,最终全部溺亡。
据央视网稍早前消息,浮选槽内的介质不是水,而是由磨碎的矿石粉末、水与浮选药剂混合形成的矿浆。这种矿浆密度远高于水,如泥浆般黏稠,人体下坠后迅速沉底,挣扎时矿浆就会附着口鼻堵塞呼吸道。此外,矿浆还含有氢氧化钠(强碱)等腐蚀性药剂,呛入后会严重灼伤人的呼吸道和肺部,加速窒息。同时,嘈杂槽中因有高速旋转的叶轮,施救十分困难。
据媒体报道,东北大学属于“双一流”A类高校及985、211工程院校,而溺亡的6名大学生均是这所大学资源与土木工程学院矿物加工工程专业的大三本科生,其中有的学生家庭条件并不好,原本承担着整个家庭对未来的美好期望,如今全都付之一炬。
六条鲜活生命消逝的背后,最关键的问题在于,这场事故因何发生?
矿企生产安全检查制度搞成了“形式主义”
明面上的原因各家媒体揭露了很多,这里只说关键原因。
虎嗅ESG组结合中青网报道与获得的一份资料显示,事故直接原因是浮选槽上方钢格栅板(规格1.2mx3 m)一侧固定角钢焊缝存在陈旧性裂纹,当日受集中载荷后瞬间断裂,导致整块格栅板翻转脱落,学生们坠入含有危险矿浆的浮选槽并溺亡。
而早在2月份,企业曾对格栅板进行过一次“局部更换”,但未对全部焊缝做无损检测。此外,事发平台存在日常承载标识缺失问题,未限定同时站立人数;学校与企业签署的《教学实习安全协议》也未明确现场监护、限员和应急流程。
虎嗅ESG组在梳理与涉事企业“中国黄金集团内蒙古矿业有限公司”生产安全相关的资料时发现了三点事实。
一是“中国黄金集团内蒙古矿业有限公司”曾被作为安全典范案例出现在其母公司中国黄金集团2023年ESG报告中,报告原话中写有内蒙古矿业公司强化风险分级管控,且“坚决把风险控制在隐患形成之前,打造本质安全型企业”。

图源:2023年中国黄金ESG报告
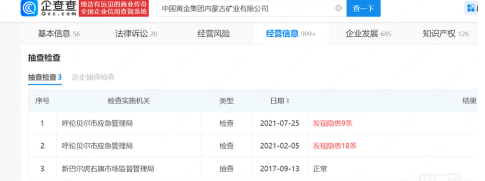
二是涉事企业在2021年就曾被发现安全问题,据企查查显示,呼伦贝尔市应急管理局对中金内蒙古矿业实施检查,发现隐患27条。


图源央广网留存,笔者查询企查查发现相关记录已被删除
三是据潇湘晨报报道,在6名大学生溺亡前14天,涉事企业还召开了2025年上半年安全生产委员会会议。据官微发布的信息,该会议对下半年安全生产工作作出明确部署,强调要强化隐患排查整治,综合运用日常检查、专项抽查等方式,提前做好应对准备,加强监测预警,确保安全生产工作尽责任、会防范、有准备。

图源:潇湘晨报留存 目前公众号相关内容已删除
这三点事实都在指向一个问题,即涉事企业的生产安全检查制度有“形式主义”之嫌。
一方面企业在出事前刚开过安全会议,还大喊了口号;另一方面其母公司中国黄金集团认为涉事企业安全生产制度搞得有创新,将之当成了典型案例,结果这次事故直接暴露出基层并未解决实际问题。
知乎网友@田君良还发现涉事企业在今年2月25日曾发表一篇文章,向公众表示顺利完成了一二系列混精二层平台地面格筛板更换,甚至还配了图片。

图源:知乎@田君良,目前该文章已被删除
这则信息有力地说明,涉事企业基层检查存在只看表面、摆拍留念以应对交差的现象,企业内部虽说安全规章各类齐备,但只在部门检查时“应付展示”。
需要指出的是,矿企此类行为并非孤例,虎嗅ESG组曾在此前发布文章《山东黄金成“差生”典范了》,同为矿企的山东黄金也曾事故频发、屡次被罚,也造成过人员伤亡。
一个共性是,两家出问题的企业均为主集团控股投资企业。可见,国内头部矿业公司对于旗下子公司的生产安全疏于防范,亟需加强管理。
从ESG角度看,采矿安全是矿业公司ESG中的关键问题,直接关系到员工的生命安全和矿山生产的稳定。因黄金开采/冶炼涉及地下作业、炸药使用、重型机械操作等高风险工序,所以员工面临的安全健康风险远高于其他行业。而当企业不能保障基本的生产安全时,其他社会责任承诺都会失去意义。
因此,黄金企业往往需要安全生产作为履行社会责任的起点和基础,通过完善的安全培训体系、先进的防护设备和科学的管理制度,全方位保障员工的健康安全。
“形式主义”的安全检查何时休?
什么是形式主义?以会议传达安排代替实际整改,以文件下发代替现场落实,上级下发的安全文件,基层只是走流程,不解决实际隐患。
一边走“形式主义”的安全检查,一边发生事故,类似案例曾多次发生。
2023年7月,齐齐哈尔市第三十四中学校体育馆楼顶坍塌事故夺走了11人的生命,11个家庭遭受巨大痛苦。据报道,事故原因是因为堆放在体育馆楼顶的珍珠岩浸水增重,导致屋顶荷载增大引发坍塌。
讽刺的是,在这起坍塌事故发生四个月前,齐齐哈尔市教育局曾经开展校舍安全检查,检查事项涵盖安全生产责任制落实、校园安防建设、道路交通安全、校舍安全等7个重点区域。
同年5月,聊城市中化集团鲁西化工双氧水生产区发生爆炸火灾事故,造成5人死亡、1人受伤、1人失联。而就在爆炸事故发生前2天,聊城市应急局局长才带队来到发生事故的生产区进行了安全检查。
央视网评论道:“人们盼望的,是真实、用心、严格的安全检查,不要每次总是等到事故发生后才开始认真起来;不要每次都等到无辜群众遇难之后,检查者才意识到生命的宝贵。”
虎嗅ESG组认为,“形式主义”安全检查导致事故反复发生背后,既与责任落实不清有关,也与更深层次的制度与执行密切相关。
一方面,企业主要负责人、安全生产第一责任人常贴“安全标签”不履责,日常不深入一线,就会导致整改措施难以落地;另一方面,事后调查往往在“顶格处罚”后即偃旗息鼓,缺乏持续跟踪问责机制,造成“大检查”“拉网式”运动过后,问题依然存在。
最后,则是企业往往会因利益考量而忽视安全投入,典型如传统人工式检查重数量轻质量,无法对设备老化、腐蚀等持续风险形成有效监测;而在经济效益考核压力下,安全投入被视为“成本中心”,成了“面子工程”流于表面。这些虽说都是导致事故发生的潜在原因,但最关键的问题仍出在企业自身。
据媒体披露,2019年内蒙古矿业曾因经营不善、连年亏损,被政府要求重组脱困。2020年,中金黄金收购内蒙古矿业,持有内蒙古矿业90%股权。
在管理权易手之后,受益于铜价上涨,内蒙古矿业在2021 年到2023年每年净利润都增长超过50%,2023年净利润达22.86亿元,成为中金黄金在黄金之外的新的利润增长点。
关于涉事企业所要承担的责任,据媒体报道目前涉事车间已全线停产进行整顿,企业分管安全副总经理、车间主任、当日监护人员3人被采取刑事措施。而《刑法》第一百三十四条指出,在生产、作业中违反有关安全管理的规定,因而发生重大伤亡事故或者造成其他严重后果的,处三年以下有期徒刑或者拘役;情节特别恶劣的,处三年以上七年以下有期徒刑。
