IT之家 7 月 20 日消息,国家知识产权局信息显示,比亚迪股份有限公司申请一项名为“一种电池系统、电池控制系统及车辆”的专利,公开号 CN120327289A,申请日期为 2025 年 6 月 20 日,申请公布日为 2025 年 7 月 18 日。

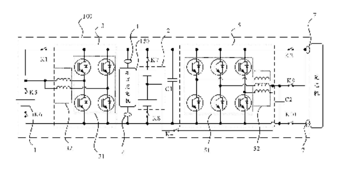
IT之家从专利文件获悉,该发明公开了一种电池系统、电池控制系统及车辆,涉及电动汽车技术领域,旨在电池包尺寸不变的情况下,增大续航里程。
电池系统包括:第一电池包、第二电池包和第一充电模块,第二电池包的最大输出功率大于第一电池包的最大输出功率,且第二电池包的能量密度小于第一电池包的能量密度;第一充电模块连接第一电池包和第二电池包,第一充电模块能够将第一电池包的电量提供给第二电池包以对第二电池包充电。
